当前位置 > 支付截图
 

 

 
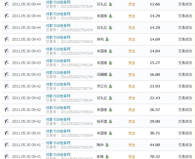
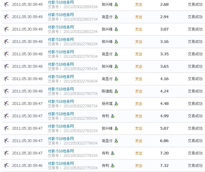
518任务网创立至今,一直信誉良好。以下是网站的部分支付截图:
 





 

 

 
客服QQ:372642639 版权所有 2009 - 2025 网站会员群:795747500 非凡网络